
NH多功能测试组件使用说明
使用范围:可用于测试液体试剂、酱状物(如番茄酱、涂料)、粉末(如咖啡)等。
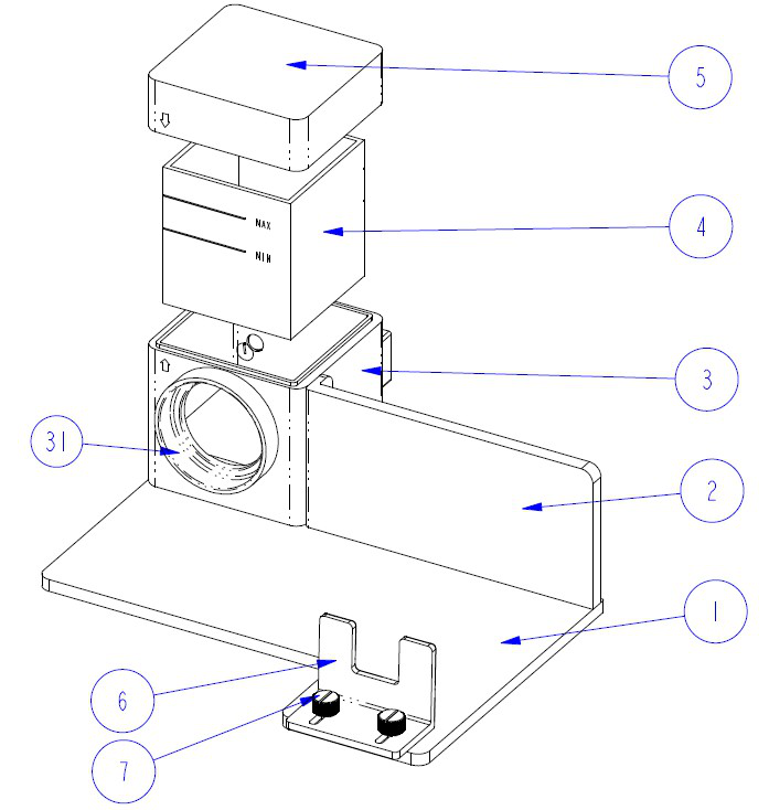
一、 组件结构
如图1中所示,多功能测试组件的结构如下:
(1)基座、(2)基座挡板、(3)方形积分器、(31)方形积分器测量口、(4)比色皿、(5)盖板、(6)推板、(7)螺丝。
图1 多功能测试组件结构
二、使用方法
如图2,3多功能测试组件的使用方法如下:
1、将NH310色差仪按照如图2放置好,其中,NH310的测量端口要与(31)方形积分器测量口对接好,如图3所示,然后将(6)推板顶住NH310色差仪,拧紧7螺丝,检查NH310色差仪是否松动,如果松动,请务必再次拧紧(7)螺丝。
2、将(4)比色皿,装入(3)方形积分器。(4)比色皿有两个磨砂面,拿(4)比色皿的时候请只接触这两个磨砂面;另外,有两个透明面,上面刻有“MAX”、“MIN”字样,请将其中一面对着31方形积分器测量口,如图2所示;
3、将(4)比色皿装入(3)方形积分器后,盖上(5)盖板,(5)盖板上有一个箭头图标,(3)方形积分器上有一个相同的箭头图标,请确保两个箭头图标位置一致,如图3所示。
完成以上步骤后,即可启动NH310色差仪进行测量。

图2 NH310色差仪与多功能测试组件的配合

图3 NH310色差仪与多功能测试组件的配合
三、注意事项
1、保持(3)方形积分器中的整洁,防止弄脏;多功能测试组件使用完毕后,把(5)盖板盖上,保持3方形积分器封闭;
2、防止(4)比色皿两个透明面刮伤、弄脏,使用前、后均保持(4)比色皿内、外面清洁。
3、装入(4)比色皿的待测物品的量务必在“MAX”和“MIN”的划线之间。
多功能测试组件实拍
